海克易邦視覺檢測系統
新聞信息
公司新聞
行業新聞
相關知識

下載下載專區

  我們很榮幸為您提供協助,對機器視覺有疑問歡迎聯系我們!

手機(微信同號):18092407187
QQ:2812496259

關于海克易邦

 

公司新聞

間接照射環形低角度光源

應用領域:可用于金屬等具有光澤的物體的表面檢測,凹凸,傷痕和污點的檢測,晶片的傷痕檢測等
l 產品特點:
*設計緊籌,安裝方便簡單,使用環境溫度為:-10--+60℃。
*高均勻度LED陣列,使用壽命為5萬小時。
*可選配導光漫反射板,以實現更均勻的照射。
*外徑大小多樣顏色可選且可定制

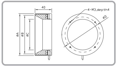
l環形光源 WLFR-LA 系列---產品系列表

l 型  號  A     B     C     D   圖號   電   壓           功  W

WLFR-LA100-*  100     92     73      84  1R=12V其它顏色24V  R=2.9其它顏色:8.7W

WLFR-LA140-*  136    128     109     120     2R=12V其它顏色24V   R=5.8其它顏色:17.2W

WLFR-L180-*   180    172     153     164      1R=12V其它顏色24V   R=3.8其它顏色:10.8W

:*R紅色(波長:620-660nm), W白色(色溫:3000-6000K), B藍色(波長:465-470nm), G綠色(波長:525-530nm). IR紅外(波長:850-950-1050nm),  UV  近紫外(波長:365-395nm).

規格尺寸:單位MM 

角度為:LED發光方向與水平基板的角度。

l 尺寸圖紙 

 

西安易菲特:029-68682891

發布時間:2015-9-6   
 

電話:180 9240 7187 (同微信) 在線QQ:2812496259

地址:陜西省西安市高新區丈八一路匯鑫中心C座1506室
(蘇州)昆山市工業技術研究院祖沖之路1699號3號樓三樓
(東莞)松山湖高新區工業東路6號固高科技園
(深圳)龍華區觀瀾街道黎光社區黎光新工業區18號五樓
Copyright@2006-2018 海克易邦光電科技有限公司陜ICP備16001484號----整套機器視覺系統提供商 保留所有版權

 

掃一掃加我微信
視覺檢測系統二維碼